揚州軒得機械有限公司及生產,銷售,服務為一體的綜合型企業。電動推桿行業的資深廠家,本公司從事微型電動推桿到大型電動推桿的生產研發,電動推桿采購首選品牌揚州軒得機械有限公司。公司生產的電動推桿廣泛應用于化工,礦山,冶金,電力,工程建設,智能科技等領域。公司產品嚴格執行ISO9001-2000質量管理體系認證標準,確保了產品的質量。本公司所生產的電動推桿產品在同行中處于領先水平,我們從電動推桿的電機選擇,到連接部位全銅材質的使用,到電動推桿表面的油漆,都進行嚴格把關,大大增加了產品都壽命。
電動推桿是一種直行程往復執行元件,且借助于其它桿系還能完成轉動和擺動,被廣泛以重量輕、推拉力大、噪音低、耗能少、安裝保養方便,可單獨操作,也可以遠距離集中控制等優點,被廣泛應用于冶金、電力、煤炭、機構、化工等部門,尤其適用于遠距離、高空及危險等場合。代替液壓、氣動裝置進行集中控制或自動控制。
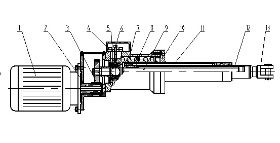
1.結構
電動推桿由驅動電機、減速齒輪、絲桿、導套、推桿、滑座、彈簧、外殼、連接頭及行程開關所組成,結構緊湊、動作靈敏、安裝方便。
2.結構示意圖
1.電動機 2.小齒輪 3.大齒輪 4.左右行程開關 5.滑座
6.撥桿 7.螺母 8.彈簧 9.螺桿 10導套組件
11導軌 12推桿 13.接頭
電動推桿工作原理 :
電動推桿以電動機為動力源,經變速、帶動螺桿螺旋副產生直線運動,由于推桿內管與螺母是固定的,用連在內管的接頭連接設備帶動工作,由電動機的正反轉產生伸或縮的運動,這便是電動推桿的工作原理。在電功率配合合理情況下,電動推桿力的大小決定于彈簧。電動推桿帶動設備,因各種因素在中途受阻或推桿到了兩端的極限位置,推桿的內管不動,而螺桿還能轉動,那螺桿勢必要沿著推桿內管的反方向運動,由結構看出,螺桿帶動滑座克服設定的彈簧力運動,帶動撥桿,壓住限位開關,關閉電源,這樣就起到保護作用。由于開關比較容易損壞,我公司特地結合電動推桿的結構,研制出一套機械保護裝置,它靈敏度高,在出廠調試中機械保護裝置比電氣保護推力大500N左右,這樣兩套保護裝置就能有效、可靠地保護推桿本身及被連接設備的安全了。
DT 直式電動推桿選型:

全國免費服務電話:133 9063 0016